3.GeekBar透漏,這次iPhone6勢必一定會加入NFC功能,會使用恩智浦公司(NXP)提供的技術,該公司的PN65系列NFC提供給多加知名手機品牌使用,如三星、SONY、Google Nexus等,而蘋果替新一代iPhone選擇的比較新的NFC型號為PN65V,加上iPhone6 Logo掏空設計,這一切的準備證明iPhone將加入NFC。

4.iPhone6主機板流出,證實有NFC晶片、A8處理器,紅色圈這顆晶片經確認是來自NXP的NFC晶片,蘋果加入NFC晶片可能在未來會順勢推出iWatch替電子支付這流程更便利,或許感應經驗就會藏在Apple Logo後方。
防水:
根據日本媒體報導這次iPhone6將具備Sony與三星的有防水功能,但這消息看來源非常不準確。
記憶體:
傳iPhone6 4.7吋 只會推出32G、64G兩種版本,而iPhone6 5.5吋會多推出128G版本。
5G晶片技術:
2014年MWC展覽會上Broadcom發佈首款5G晶片代號BCM4354,該晶片會比802.11ac Wifi速度還更快效率更高,最主要是因為該晶片採用了2×2 Multiple Input Multiple Output (MIMO)技術,增加傳輸速度和降低耗電量。
Wi-Fi:
傳將使用最新802.11ac Wi-Fi
壓力、溫度、濕度感應器:
據傳MEMS傳感器公司朋友在說,iPhone6很有可能會在新增可量測氣壓、溫度、濕度、心跳、血壓等功能。該功能很有可能會搭配iOS8上的Healthbook來檢測運動、心律、血糖、睡眠等。
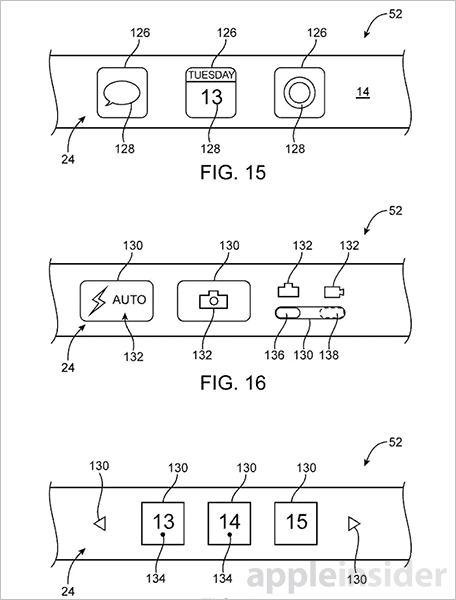
虛擬按鍵:
根據蘋果已經申請的美國專利號 8723824,根據該專利內容指出螢幕將會搭載OLED圍繞顯示設備。

專利中也明確畫出,邊緣觸控按鈕,如訊息、日曆、播放歌曲等功能,讓人產生很多想像空間。

在底下這畫面顯示未來實體按鍵將會消失,都將會改為觸控方式,外型就讓各位自行想像。
保護殼:
有手機外殼商流出這兩款4.7/5.7透明保護殼,是否證明真的會推出4.7與5.7吋的iPhone6?而且與日本雜誌的草圖設計非常相似。
比較值得注意是紅色標示1位置有全新的按鈕位置?這會是什麼樣的新功能呢?
iPhone6 vs iPhone6s 保護殼
5.5吋iPhone6s保護殼首度亮相?謠傳iPhone6會推出兩種尺寸規格分別是4.7吋與5.5吋,但又有另一個謠傳5吋版本會是iPhone6s。
4.7吋 138mm*67mm*7mm , 5.5吋 157mm*81mm*?mm
2014/7/24更新

實體iPhone6保護殼vs各家旗艦機
iPhone6薄度分析影片
看完上一段比對大小影片後,究竟iPhone6有多薄?薄度可能差不多與iPod touch 五代會是差不多,外界猜測外形很有可能會同是iPod touch的放大版。
iPhone6模型機
據傳是iPhone6 4.7吋的原型機流出,且鑽孔位置還在確認中,從影片來看美國人拿在手上感覺恰當適合,但對亞洲人來講可能就有點大些。
iPhone6發售日期
1.傳德國電訊商 Deutsche Telekom 透漏iPhone6將於9月19日發表,10月14日率先第一波開售的地區美國、中國、澳洲、加拿大、法國、日本及香港。
2.StreetInsider.com網站洩漏 將會提前到7月發售。
3.依照以往經驗大約會在9-10月發售。
4.國外ReCode有內幕指出,蘋果將會在9月9日發表新一代iPhone6。
5.中國某家未知名業者,PO出這張海報,並表明iPhone6接受預定,iPhone6 4.7吋價格為人民幣5288起,而5.5吋為人民幣6288起,並在9月19日發售,發售時間如同德國電信商,但剩餘資訊都有謠言意味存在。
6.根據iPhonez.nl網站報導,宣稱來自荷蘭電信內部有匿名人士告知將會在9月19日進行第一波發售。
iPhone6價格
消息一.根據台灣內線消息透露
iPhone6 4.7吋單機售價為 16G NT$22500、 32G NT$25900、64G NT$29500
iPhone6 5.5吋單機售價為 16G NT$26000、 32G NT$29400、64G NT$33000
消息二.根據大陸不知名的店家透露
依照目前匯率換算會是
iPhone6 4.7吋單機售價為 16G NT$26069、 32G NT$30013、64G NT$33957
iPhone6 5.5吋單機售價為 16G NT$30999、 32G NT$34943、64G NT$37901

依照上圖對應目前iPhone5s在中國價格,依照iPhone5s目前中國價格RMB$5288=NT$22500,Apple匯率約4.25來換算,所以正確價格會是如下,16G與32G價差3400,而32G與64G價差3600。
iPhone6 4.7吋單機售價為 16G NT$22500、 32G NT$25900、64G NT$29500
iPhone6 5.5吋單機售價為 16G NT$26800、 32G NT$30200、64G NT$33800
消息三.香港未知名人士透露
iPhone6 4.7吋單機售價為 16G NT$25693、 32G NT$29576、64G NT$33467
iPhone6 5.5吋單機售價為 16G NT$30551、 32G NT$34438、64G NT$37354
iPhone6機身、模具
由於機身照片洩密照太過多,請到這篇文章看看。
iPhone6 真實影片
完整硬體規格:
最後提供本篇謠言的所有iPhone6規格表,讓大家可以清楚iPhone6詳細規格。
想了解更多Apple資訊、iPhone教學和3C資訊技巧,歡迎追蹤 瘋先生FB粉絲團、 訂閱瘋先生Google新聞、 Telegram、 Instagram以及 訂閱瘋先生YouTube。